示例为测试账号截屏,仅供参考。实际界面可能不同。
以下是仅针对TikTok物流的物流面单快速创建和购买指南。如需了解 升级版TikTok Shipping 的物流面单生成流程,请参考“TikTok Shipping服务升级指南”
以下是针对TikTok物流的物流面单快速创建和购买指南:
TikTok
面单购买流程
- 选择要购买面单的订单:
- 创建TikTok待处理订单的物流面单:点击“管理订单” > “待发货” > “创建物流面单”按钮,逐个操作或批量操作。
例如:
第1步:选择订单状态“待发货”
第2步:选择“TikTok物流”订单。
第3步:点击“创建面单”按钮
如果该订单没有可用的物流提供商,系统会显示错误标签。
| 选择单个订单 | 批量选择订单 |
![]() ![]() | ![]() ![]() |


- 默认面单购买选项:
发货时打印面单:购买面单时直接打印物流面单,即购买后立即获取面单。
发货后打印面单:购买后可以在“管理订单”页面或“物流面单”页面随时打印物流面单。支持单独或批量打印物流面单、装箱单和拣货单。
发货后打印面单
| | 单件发货 | 批量发货 |
| 购买面单 | ![]() ![]() | ![]() ![]() **一次最多可创建600个订单的物流面单。 |
| 购买面单结果 | ![]() ![]() | ![]() ![]() |
| 打印面单 | ![]() ![]() | ![]() ![]() |
购买和打印同时进行
| 购买和打印同时进行 | 单件发货 | 批量发货 |
| 购买面单 | ![]() ![]() | ![]() ![]() |
| 购买面单和打印面单结果 | ![]() ![]() | ![]() ![]() |
- 灵活编辑包裹数据
在购买面单过程中,商家可以针对单个或多个订单修改物流服务、新添增值服务、调整包裹大小。灵活的功能让商家从容应对不断变化的发货需求和偏好。
编辑包裹时,还能修改面单的文件格式设置。
| 编辑单个包裹 | 编辑多个包裹 | 包裹打印偏好 |
![]() ![]() | ![]() ![]() | ![]() ![]() |


如果我的面单被拒,该怎么办?
要创建物流面单,TikTok Shop必须与物流商确认物流信息。系统确认了物流商的物流信息后会成功生成面单。不过,如果收到物流商的错误代码,则无法创建面单。
如果我们收到错误代码,页面底部会显示相关订单的“面单被拒”通知。别担心!页面会显示错误代码原因,并给出解决问题的建议。问题解决后,您可以点击“重新创建面单”继续该流程。
| 购买面单失败 |
![]() ![]() |
导致面单被拒的错误类型可能不同。常见错误包括:
| 错误类型 | – 买家地址问题 |
| | – 商品尺寸过大 |
| | – 物流商订单错误 |
根据被拒原因,多数情况下通过几步操作就能快速解决问题;出现严重问题时,可以联系TikTok Shop客服团队进一步了解面单被拒的原因。


在“物流面单”页面进行重新创建或重新打印
解决完面单被拒问题后,可以在“物流面单”页面进行重新创建或重新打印操作,还支持批量处理功能。“物流面单”页面会明确显示打印结果,直接就能处理问题,为履约流程省时省力。
![]() ![]() |


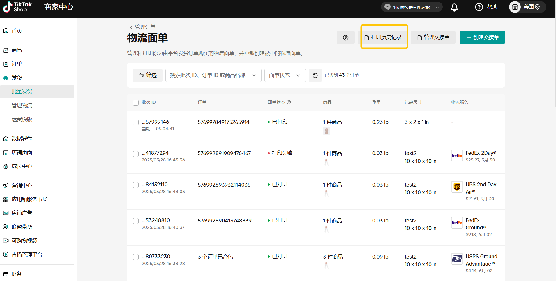
查看打印历史
- 可以在“物流面单”页面查看包裹详情和订单的面单状态。点击“查看历史”还能看到从创建到打印的完整订单面单记录。
![]() ![]() |
- 点击“打印历史”可以查看和下载特定批次面单的PDF文件。
![]() ![]() | ![]() ![]() |
自定义文件格式
平台商家可以根据偏好灵活设定文件格式。平台提供多种尺寸的物流面单和装箱单,努力满足您的包裹需求:
- 物流面单和打包清单尺寸:
可用尺寸包括4×6英寸、8.5×11英寸(Letter/A4)、A5和A6。
选择“在1页上打印”或“在2页上打印”物流面单和打包清单。如果尺寸不同,系统会自动生成单独的文件。
| 文件格式选项设置 |
![]() ![]() |
- 设置面单默认操作
可以根据业务需要,设置物流面单的默认处理操作:
通过面单打印选项,商家可以选择“购买面单,之后打印”或“购买并立即打印”。完成打印后,商家会收到跳转至面单PDF文件的URL。
系统会通知新老商家前往“履约设置”设定打印偏好。
| 创建和打印面单的默认操作 |
![]() ![]() |
请注意:商家不得重复使用物流面单。订单的物流面单应是独特、唯一的。





























