跨境卖家违规处罚和申诉流程(美国)请点击https://seller.tiktokglobalshop.com/university/essay?identity=1&role=1&knowledge_id=7644252499134209&from=policy
跨境卖家违规处罚和申诉流程(英国)请点击https://seller.tiktokglobalshop.com/university/essay?knowledge_id=4193083394672385&role=1&course_type=1&from=search&identity=1
TikTok Shop
卖家违规处罚政策
TikTok Shop重视平台的安全性、多样性、真实性。平台政策和规则旨在确保买家安全,并为所有用户提供值得信赖的购物体验。
为保障用户安全,平台会对违反TikTok Shop规则及政策的店铺采取处罚措施。平台的卖家绩效评估政策适用于所有卖家,该政策阐释了TikTok Shop采取违规处罚措施的方式。
简单来说,如果店铺因违反平台的政策和规则而持续累积违规分,则将受到愈加严厉的处罚。
重要说明:卖家绩效评估政策仅适用于卖家。如果您是达人,请参阅平台的达人绩效评估规则。
违规分
违规分是卖家违反我们的政策和规则后得到的处罚分。卖家可以在卖家绩效评估政策的第4.1节中找到有关违规行为的示例。卖家店铺得到的违规分与其违规行为的严重程度和影响有关。违规分自处罚之日起每180个日历日重置一次。
节点处罚门槛
当店铺累积的违规分达到了某个
节点处罚门槛
,则平台将根据对应的节点对卖家店铺采取处罚措施。违规分也反映了卖家店铺的表现和健康度。
重要说明:除下表中列出的处罚措施以外,TikTok Shop还可根据平台的卖家绩效评估政策和商家服务条款采取其他处罚措施。
| 累积违规分(节点) | 处罚措施 | 店铺健康度 |
| 12 | – 在卖家距离12分的处罚节点只差5分时,平台将向卖家发出正式的警告信息 – 在30个日历日内,卖家将无法参加新的大促、活动、促销或平台补贴等 | 中风险 |
| 24 | – 在卖家距离24分的处罚节点只差5分时,平台将向卖家发出正式的警告信息 – 在30个日历日内,卖家将不得参与联盟 – 在30个日历日内,卖家将无法参加新的大促、活动、促销或平台补贴等 – 卖家将重新进入新店铺考察期。 | 高风险 |
| 36 | – 在卖家距离36分的处罚节点只差5分时,平台将向卖家发出正式的警告信息 – 在60个日历日内,卖家将不得参与联盟 – 在60个日历日内,卖家将无法参加新的大促、活动、促销或平台补贴等 – 卖家将重新进入新店铺考察期。 – 店铺将暂时封禁30个日历日 | 极高风险 |
| 48 | – 在卖家距离48分的处罚节点只差5分时,平台将向卖家发出正式的警告信息 – 店铺将永久封禁 | 极高风险 |
如何查看您的违规分?
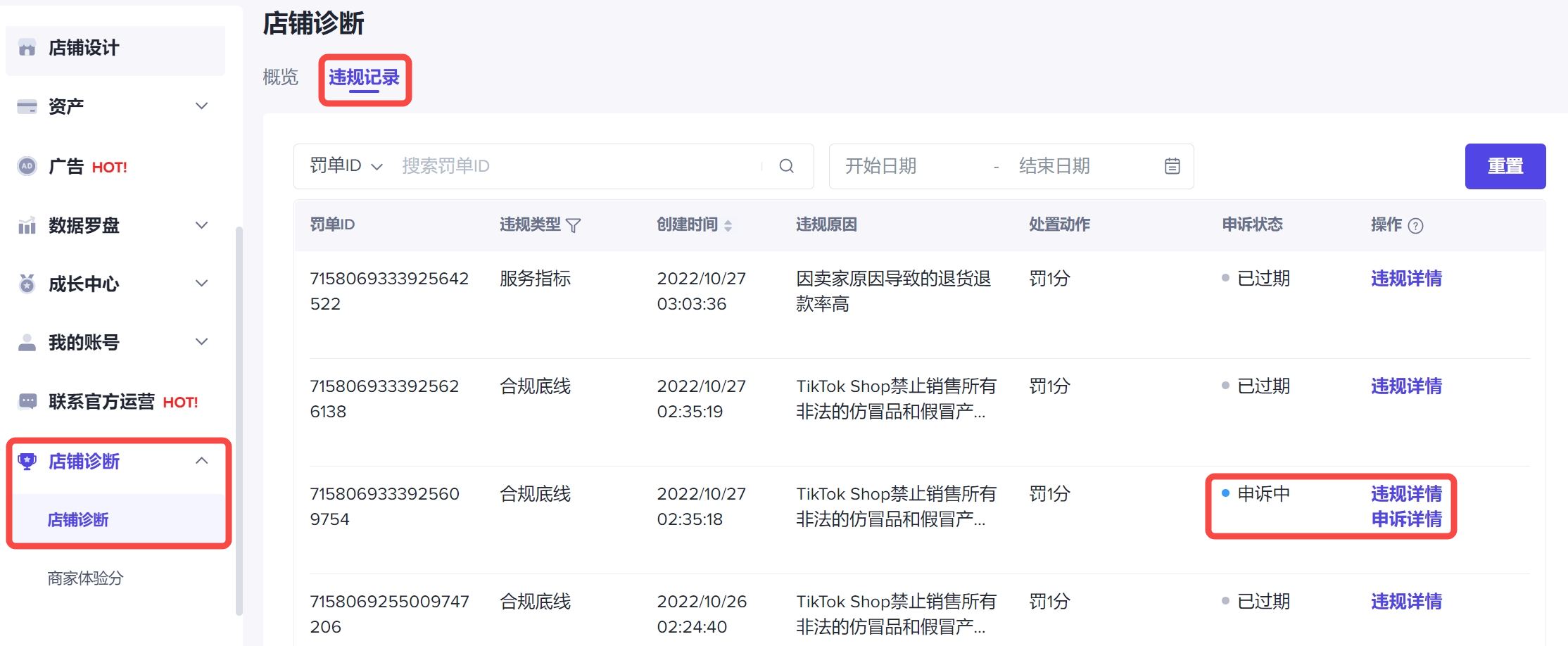
卖家可前往其TikTok Shop卖家中心,在“店铺诊断”页面查看其违规分。卖家可以在“店铺诊断”页面管理其店铺的健康,并查看与其店铺相关的任何违规行为。


如何计算您的违规分
卖家可以在其TikTok Shop卖家中心账号里的“概览”页面查看其总共累积的违规分;或者查看“店铺诊断”页面里的“违规记录”标签页中的“处置动作”,将各项违规分相加,即可算出总共累积的违规分。


如何对我的违规分进行申诉?
如果卖家认为TikTok Shop向其错误地发送了违规通知,则可通过卖家中心提交工单/申诉单,进行申诉或提起纠纷诉求。
| 提起申诉并追踪申诉状态 | 1. 请登录您的TikTok Shop卖家中心账号 2. 点击“店铺诊断”,选择“违规记录” 3. 点击违规记录旁边的“申诉”按钮,对该违规提起申诉 4. 完成申诉后,您可点击“申诉详情”以追踪申诉状态 ![]() ![]() |
| 提交证明文件 | 卖家必须提供证明文件以协助平台调查。文件包括但不限于说明该处罚措施有误的相关文件。 |
| 申诉时间线 | 对于每项违规,卖家最多可以提起两次申诉。 – 首次申诉必须在违规通知发出后的30个日历日内提出。 – 如果首次申诉被驳回并且卖家希望再次提出申诉,则必须在驳回后的15个日历日内提出。 |
常见问题
如何防止产生更多的违规分?
定期查看TikTok Shop商家大学的政策中心,及时了解平台的政策与规则。
时常查看您的“店铺诊断”页面。
如果您不同意平台对您的店铺采取的任何处罚措施,您可以提起申诉。


如果我违规了,TikTok Shop会向我发出警告通知吗?
会的。在“店铺诊断”页面的“违规记录”标签页里,您可以看到相关违规原因和违规分。
在卖家距离下一个TikTok Shop处罚节点只差五(5)分时,平台将向卖家发出正式的违规警告信息
如果申诉成功,将会怎么样?
- 如果申诉成功,TikTok Shop将取消任何处罚,并恢复任何已撤销的特权。如果申诉失败,TikTok Shop将维持先前的处罚措施,撤销相关特权。
更多信息
如果您对处罚措施或申诉程序有任何疑问或顾虑,您可以通过我们的帮助中心提交工单。我们的商家客服团队将帮助您解决问题。








